PS-70E強化懸式玻璃絕緣子
產品概述

型號:PS-70E
P——懸浮液;
S—絕緣體材質(玻璃);
70—40/70/120/160/210/300/400—降低施工高度的保溫,kN;
E— A/B/C/ D/E —增加建築高度的隔熱層
可能的修改:
PS-70D — PS-70E 絕緣子的舊名稱
PS-70I
PS-70E 212W— 絕緣子結構高度降低 — 127 毫米
PS-70E 112W— 絕緣子結構高度增加 — 146 毫米
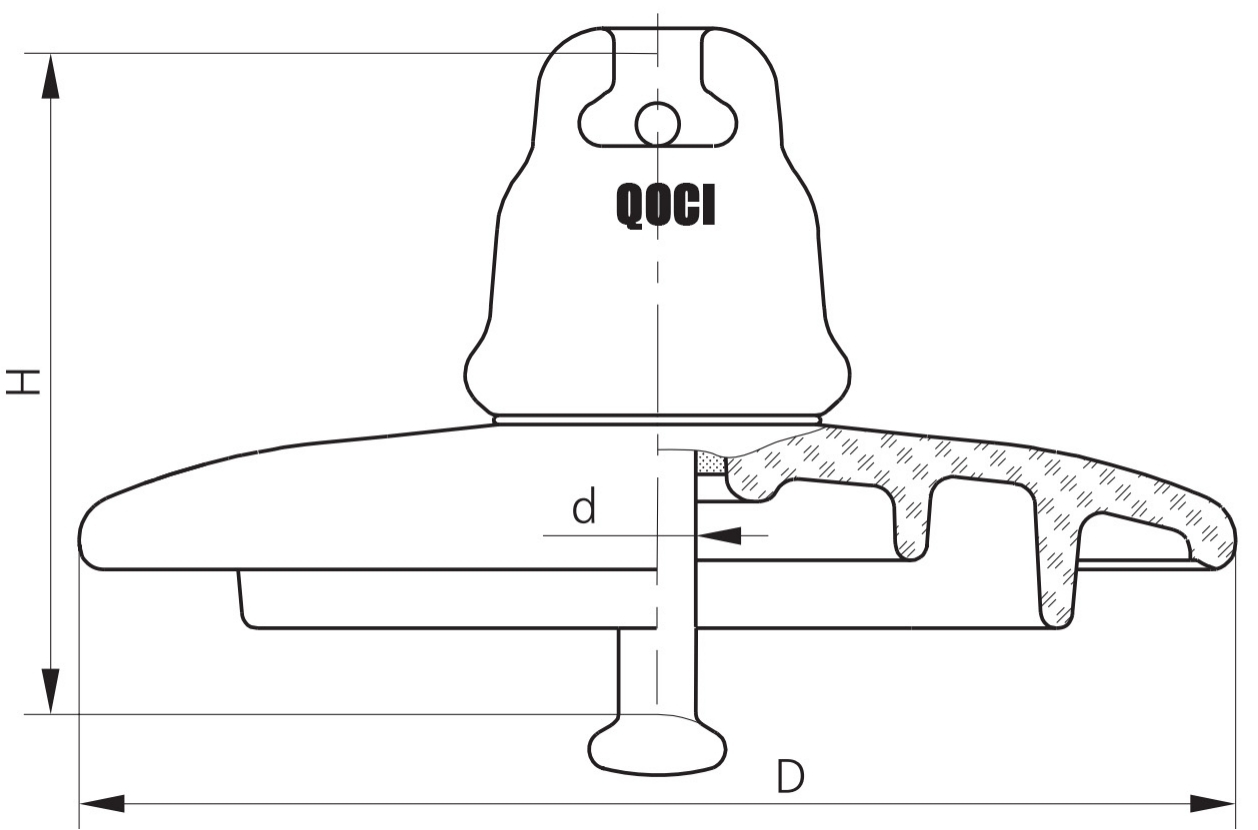
絕緣子PS-70E外形尺寸
PS 70E絕緣子的技術特性
|
|
| PS 70E | PS 70I | PS 120B | PS 160D | 210伏特交流電源 | 300伏特電源 | 400伏特交流電源 |
| 最小機械故障載重 | 千牛 | 70 | 70 | 120 | 160 | 210 | 300 | 400 |
| 最小機械殘餘強度 | 千牛 | 56 | 56 | 96 | 128 | 168 | 240 | 320 |
| 直徑,D | 毫米 | 255 | 255 | 255 | 280 | 290/300 | 320 | 360 |
| 建築高度,H | 毫米 | 127 | 146 | 127 | 146/170 | 170/195 | 195 | 205 |
| 爬電距離 | 毫米 | 320 | 407 | 320 | 385 | 370/380 | 390 | 550 |
| 球形連接(球窩關節),d | 毫米 | 16 | 16 | 16 | 20 | 20 | 24 | 二十八 |
| 工頻擊穿電壓 | 千伏 | 130 | 130 | 130 | 130 | 130 | 130 | 130 |
| 50Hz耐壓(乾) | 千伏 | 70 | 72 | 70 | 72 | 72 | 82 | 90 |
| 50Hz耐壓(濕) | 千伏 | 40 | 四十二 | 40 | 45 | 45 | 50 | 55 |
| 乾雷衝擊耐受電壓 1.2/50 +/– | 千伏 | 105/105 | 110/110 | 100/100 | 110/110 | 110/110 | 130/130 | 140/140 |
| 0.5 MHz 的無線電幹擾電壓 | 分貝
| 60 | 60 | 60 | 60 | 60 | 60 | 86 |
|
| 千伏
| 20 | 20 | 20 | 20 | 20 | 20 | 三十 |
|
| 分貝
| 86 | 86 | 86 | 86 | 86 | 86 |
|
|
| 千伏
| 二十五 | 二十五 | 三十 | 三十五 | 40 | 40 |
|
| 重量 | 公斤 | 3,6 | 4,3 | 3.9 | 6,13 | 7,2 | 10 | 16,2 |
高壓輸電線路採用鉸接式串聯絕緣子串。絕緣子串中絕緣子的數量取決於線路的電壓等級、支架結構、絕緣子類型和運作條件。對於35 kV線路,通常在串中安裝兩塊PS絕緣子,安裝在木質支架上,並在金屬支架上再安裝一到兩塊PS絕緣子。對於6-35 kV架空線路,懸吊絕緣子數量的選擇與海拔高度無關。為防止絕緣子串自發脫落,絕緣桿固定在絕緣帽的凹槽內。
絕緣子PS-70、PS-70A、PS-70B、PS-70G、PS-70D現已停產,不再生產。此絕緣子的現代名稱為PS-70E。
Contact Us
We are committed to providing you with the highest quality products and excellent services. If you have any questions or need assistance with our products, please feel free to contact us and we will be happy to serve you.
Due to the time difference, we may not be able to reply to you immediately. We will reply to your email as soon as we start working.
Due to the time difference, we may not be able to reply to you immediately. We will reply to your email as soon as we start working.




